Стой, «Синяя птица»: первый в мире грузовик с дисковыми трансмиссионными тормозами из СССР - «Грузовики и автобусы»
Мы уже рассказывали о том, как инженеры СКБ ЗИЛ первыми в мире разработали и применили трансмиссионные дисковые тормоза на вездеходах. Эта разработка получила широкое применение на других грузовиках московского завода самого различного применения. Но самым знаменитыми из них, конечно, можно считать ЗИЛ-4906 и ЗИЛ-49061, известные под неофициальным названием «Синие птицы».
В начале 70-х огромный и тяжеловесный поисково-спасательный вездеход ЗИЛ-5901, ставший первой машиной с трансмиссионными дисковыми тормозами, вовсю проходил испытания, а перед инженерами Специального конструкторского бюро (СКБ) ЗИЛ уже встала другая задача: создать новую амфибию (6х6) – максимально лёгкую и компактную. Назначение машины не менялось – её планировали использовать для поиска спускаемого аппарата и эвакуации космонавтов, вернувшихся на землю. Габариты и массу ограничивали характеристики вертолёта Ми-6, который и должен был доставлять поисковые машины в район приземления космонавтов.
Опытный образец, проектирование и постройка которого завершились осенью 1972 года, получил индекс ЗИЛ-49042. Обратим внимание, что первая цифра – не 5, а 4. «Понижение» в классе случилось из-за уменьшения полной массы, не превышавшей у новинки девяти тонн, в то время как у ЗИЛ-5901 она составляла 19,5 тонн. Этот внедорожник и принято считать прототипом прославленных на весь мир «Синих птиц», то есть поискового комплекса «490».
По компоновке «свежеиспеченный» вездеход напоминал уменьшенную копию ЗИЛ-5901 с той лишь разницей, что вместо двух двигателей в корме установили один. Пассажирский салон вмещал уже восьмерых космонавтов, а совсем небольшой по объему грузовой отсек не имел крановой установки для погрузки и разгрузки спускаемых аппаратов. Как и прежде оси расположили равномерно по колёсной базе и управляемыми сделали передние и задние колеса, поворачивавшиеся в разные стороны. Например, при повороте направо передние колёса поворачивались направо, а задние – налево, причём на тот же угол, что давало одинаковый путь колёс в повороте и позволяло не связывать их дифференциалом. Путь среднего колеса уже отличался, но, поскольку поисковую машину создавали для эксплуатации на мягких грунтах, а не на асфальте, этим пренебрегли. Между тем, один дифференциал инженерам всё же понадобился.
Поскольку силовой агрегат у ЗИЛ-49042 был один, а не два, как на ПЭУ-2, инженерам потребовалось «развязать» между собой колёса разных бортов с тем, чтобы позволить колёсам по одной и по другой стороне вращаться с разными скоростями.
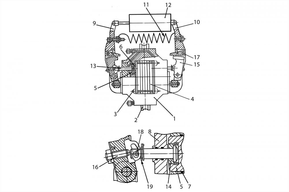
Итак, в моторном отсеке ЗИЛ-49042 инженеры установили доработанный двигатель от ЗИЛ-130 мощностью 150 л.с., механическую пятиступенчатую коробку передач от ЗИЛ-131 и новую двухскоростную планетарную раздаточную коробку с межосевым дифференциалом, который водитель мог блокировать по своему желанию. «Раздатка» разместилась в одном картере с двумя бортовыми редукторами средних колес. Здесь же размещались и узлы отбора мощности к передним и задним колёсам, то есть к этому узлу присоединялись по три карданных вала с каждой стороны – один передавал мощность прямиком к колёсному редуктору среднего колеса, два других – к бортовым редукторам переднего и заднего колёс. Далее через карданные валы мощность передавалась к колёсными редукторам, представлявшим собой пару шестерен внешнего зацепления.
Как и следовало ожидать, дисковые тормоза привычно заняли свое место на бортовых редукторах переднего и заднего колёс, то есть, на каждый борт работали не три (по количеству колёс), а только два бортовых механизма. Напомним, что также, как и в ПЭУ-2, инженерам удалось сократить количество тормозных механизмов относительно количества колёс. В принципе хватило бы и двух механизмов, однако инженеры предпочли более надежное решение. К слову, уменьшенная масса машины дала возможность отказаться в гидравлическом приводе рабочих тормозов от пневматического усилителя. В итоге конструкция стала проще и легче. Как и на ПЭУ-2, у прототипа «Синей птицы» двухконтурный привод воздействовал на один передний и один задний тормоз разных бортов.
Однако ключевым изменением стало применение модернизированных передних тормозных механизмов. Каждое такое устройство объединило функции рабочего и стояночного тормозов. Стояночный тормоз, воздействующий на колодки, включает пару рычагов с энергоаккумулятором, смонтированных на суппорте рабочего тормоза. Энергоаккумулятор выполнили в виде пневмоцилиндра и двух стяжных пружин, расположенных под ним. В заторможенном состоянии стояночный механизм удерживается стяжными пружинами, а растормаживается благодаря подаче сжатого воздуха в его пневмоцилиндр.
Изящное и надежное решение, позволившее исключить применение отдельных стояночных тормозов на раздаточных коробках, стало классикой зиловских колесных вездеходов. В отличие от ЗИЛ-5901, для управления стояночными тормозами служил удобный рычаг, а не ножная педаль. Стояночное затормаживание машины происходило быстро и надежно. Отработанные на опытном ЗИЛ-49042 узлы и агрегаты, включая тормозную систему, прекрасно зарекомендовали себя в ходе многолетней эксплуатации и на машинах поисково-спасательного комплекса «490» − ЗИЛ-4906 и ЗИЛ-49061, но до того времени инженеры московского завода оснастили дисковыми тормозами ещё несколько машин.
Действие стояночного тормоза
В 1974 году настал черед сухопутного внедорожника ЗИЛ-132Р (6х6), а в 1975 и 1976 годах соответственно – его модификаций ЗИЛ-132РС и ЗИЛ-132РВ: на них тоже были установлены дисковые трансмиссионные тормозные механизмы. Они имели некоторые отличия из-за размещения двигателя: форсированный до 165 л.с. двигатель ЗИЛ-130 располагался не в задней части шасси, как у ЗИЛ-49042, а сразу за кабиной, и единственный стояночный тормоз барабанного типа с внутренними колодками установили аккурат на выходном валу коробки передач. Это было продиктовано стремлением снизить массу агрегатов тормозной системы. В то же время отсутствие у этих машин герметичного корпуса, защищавшего рабочие тормоза, как у старших собратьев от грязи и воды, не повлияло на их работоспособность.
Грузовик с дисковыми рабочими тормозами, смонтированными на бортовых редукторах передних и задних колес, уверенно преодолевал полутораметровые броды, болотистую местность, снежную целину и другие коварные препятствия без потери тормозных качеств. Опыт создания ЗИЛ-132Р также использовали при проектировании «Синих птиц».
Итак, 1975-й стал годом рождения нового поколения плавающих машин комплекса «490», предназначенных для поиска спускаемых аппаратов и эвакуации космонавтов. Базовую модель – ЗИЛ-4906 – оборудовали грузовым отсеком и двухбалочным гидравлическим телескопическим краном, а ЗИЛ-49061 стал обладателем комфортабельного пассажирского салона с семью местами для сидения и тремя – для лежания. Интересно, что по компоновке «Синяя птица» оказалась наиболее близка к своему прародителю ПЭУ-1: равнорасположенные по базе оси, двигатель позади кабины экипажа, Н-образная схема трансмиссии, передние и задние управляемые колеса.
Главное отличие состояло в агрегатной базе. Вместо 180-сильного двигателя ЗИЛ-375, автоматической гидромеханической трехступенчатой передачи с планетарным демультипликатором и одноступенчатой раздаточной коробки использовали 150-сильный двигатель ЗИЛ-130 и механическую 5-ступенчатую коробку передач. Двухскоростную планетарную раздаточную коробку, бортовые и колесные редукторы заимствовали от ЗИЛ-49042. Естественно, форма стеклопластикового корпуса и величина колесной базы уже были оригинальными.
Таким образом, ЗИЛ-4906 и ЗИЛ-49061 стали первыми в мире серийными грузовыми автомобилями, на которых использовались дисковые трансмиссионные тормоза. На этих машинах для управления стояночными тормозами применили эргономичный тормозной пневмокран, поворотную рукоятку которого расположили на отдельной панели вблизи левой руки водителя.
В 1981 году обе машины, получившие неофициальное название «Синие птицы», в составе комплекса «490» поступили на оснащение Единой государственной авиационной поисково-спасательной службы СССР.
Все бы хорошо, но в процессе эксплуатации обнаружился изъян тормозных механизмов первого поколения. В частности, отсутствовала автоматическая регулировка зазора в приводе стояночных тормозов. Это означало, что в результате износа тормозных колодок и увеличения зазора между ними и тормозным диском в каждом механизме требовалось вручную регулировать специальные винты рычагов, которые изменяли осевое положение штоков, воздействовавших соответственно на поршни и колодки. Как итог − увеличение объема технического обслуживания при достаточно затрудненном доступе, особенно когда работы проводились внутри довольно тесного корпуса плавающей машины.
В середине 1980-х годов в СКБ под руководством Михаила Сугробова, который был одним из создателей тормозов первого поколения, приступили к разработке дискового тормоза второго поколения, в котором исключался упомянутый недостаток. Главными элементами конструкции стали расположенные внутри прорезей рычагов привода тормоза храповики, каждый из которых снабдили упорным винтом со сферической головкой и двумя проушинами с фигурными прорезями. В верхних частях прорезей рычагов находятся собачки, входящие в зацепление с храповиками. Зазор между сферическими головками упорных винтов и штоками обеспечивают пластинчатые пружины.
При смещении поршней суппорта в сторону диска перемещаются и связанные с ними штоки, которые, увлекая за собой храповики, поворачивают их на величину, пропорциональную зазору между колодками и диском. По мере износа накладок тормозных колодок зазор между ними и диском увеличивается, и при перемещении поршней и штоков на величину, пропорциональную шагу зубьев храповика, собачки входят в зацепление с последующими зубьями храповиков, тем самым автоматически поддерживая постоянство зазора в приводе стояночного тормоза.
Пройдя все этапы самых суровых испытаний, конструкция полностью подтвердила заявленные показатели. Более того, оригинальное устройство дискового тормоза второго поколения стало предметом изобретения, а в 1989 году зиловская разработка удостоилась серебряной медали ВДНХ. Наряду с этим в 1990-1991 годах ЗИЛ вел переговоры с руководителем одной из австрийских фирм, который, оценив все достоинства дискового тормоза второго поколения, хотел приобрести лицензию на его производство для реализации на западноевропейском рынке. Распад СССР прервал переговоры.
В начале 90-х у СКБ ЗИЛ появились новые заказчики. Для службы поискового и аварийно-спасательного обеспечения полетов Министерства гражданской авиации России и РАО «ЕЭС России» потребовалась специальная транспортная техника. В содружестве со специалистами Конструкторско-экспериментального производства ЗИЛа, используя узлы и агрегаты ЗИЛ-4906, в 1992-1993 годах построили опытные образцы неплавающих грузовиков (6х6) ЗИЛ-4972, ЗИЛ-4973 и ЗИЛ-4975, а 1996 году – ЗИЛ-4975М2 (ЗИЛ-497205). У всех этих моделей дисковые тормоза, как и ранее служившие верой и правдой, устанавливались на бортовых редукторах средних и задних колес.
Серийное изготовление ЗИЛ-4972 с жилым кузовом-фургоном и ЗИЛ-4975М2 с грузовой платформой и краном-манипулятором в течение нескольких лет в рамках конверсии осуществлял Правдинский завод радиорелейной аппаратуры (ПЗРА). Автомобили успешно применялись при обслуживании линий электропередач РАО «ЕЭС России» и при ремонте трубопроводов компании «Транснефть».
На многофункциональных сухопутных шасси (4х4) ЗИЛ-390610, ЗИЛ-390612 и ЗИЛ-390613 (с использованием агрегатов ЗИЛ-4906), построенных в 1996 и 1998 годах, стояночными тормозами для удобства доступа и обслуживания были оснащены задние дисковые тормозные механизмы. ЗИЛ-390610 и ЗИЛ-390613 успешно участвовали в сложных и непредсказуемых соревнованиях по трак-триалу на пересеченной местности, и в не в последнюю очередь – благодаря эффективной работе тормозов.
Помимо этого упомянутый Правдинский завод в 2001-2003 годах на шасси ЗИЛ-390613 изготовил партию аварийно-спасательных машин ГВА-3848 (АСМ-4703) для нужд МЧС, пожарную машину и специальный автомобиль ГВА-3848.1 с однообъёмным цельнометаллическим кузовом для обеспечения деятельности оперативного штаба при ликвидации чрезвычайных ситуаций.
В 2003 году опытный автомобиль ЗИЛ-49061 ГОТ (6х6) «Гидроход», созданный усилиями СКБ и компании «НАМИ-Сервис», также обзавелся трансмиссионными дисковыми тормозами. Изюминкой этой не имеющей мировых аналогов машины стало применение гидрообъемной трансмиссии, обеспечивающей индивидуальный контроль подводимого крутящего момента к каждому колесу в зависимости от сцепных свойств грунта в текущий момент времени.
Внедорожник базировался на шасси ЗИЛ-49061. За основу его трансмиссии «зиловцы» взяли немецкие гидроагрегаты Rexroth с индивидуальным управлением. Дизельный двигатель Detroit Diesel мощностью 250 л.с., размещенный позади кабины, передавал энергию трем реверсивным насосам и шести гидромоторам, каждый из которых подключили к своему колесу с помощью согласующего редуктора, а также традиционных элементов – бортовой передачи, карданного вала и колесного редуктора. Полностью автоматическая компьютеризованная система управления трансмиссией могла самостоятельно на основании рельефа местности, угла поворота и сцепления колес индивидуально менять их скорость вращения, обеспечивая тем самым максимальное тяговое усилие.
Отсутствие жесткой кинематической связи колес каждого борта между собой привело к тому, что дисковые рабочие тормоза с двухконтурным гидроприводом теперь пришлось расположить на бортовых редукторах всех колес, а стояночные – на рабочих механизмах передних и задних колес. Естественно, что и в таком исполнении тормозная система работала безукоризненно.
Изготовленное в 2008 году опытное специальное шасси ЗИЛ-390613 (4х4) «Бизон» и выпущенный небольшой партией в 2011 году внедорожный грузовик ЗИЛ-390615 (4х4) «Охотник» комплектовали такой же тормозной системой, что и вышеописанные двухосные машины. Последним автомобилем ЗИЛа, который оснастили дисковыми тормозами, стал автомобиль «Охотник».
В 2016 году ОГК СТ АМО ЗИЛ, как тогда именовалось бывшее Специальное конструкторское бюро ЗИЛа, расформировали, а всю документацию сдали в архив, но уникальная техника, созданная коллективом, продолжает служить стране. Те же «Синие птицы» стали неотъемлемым звеном наземной части российской космической программы, до сих пор достойной альтернативы им не предложено.





















